40 exmark metro 48 parts diagram
Exmark repair parts and parts diagrams for Exmark M4815KA - Exmark 48" Metro Walk-Behind Mower, 15HP Kawasaki (SN: 220000 - 259999) (2000) Exmark M48-14K-5 S/N 90,000-101,999 (1994) Parts Diagrams. Parts Lookup - Enter a part number or partial description to search for parts within this model. There are (557) parts used by this model.
48" Mower Deck diagram and repair parts lookup for Exmark MHP4817KA - Exmark 48" Metro HP Walk-Behind Mower, 17HP Kawasaki (SN: 220000 - 259999) (2000)

Exmark metro 48 parts diagram
Exmark repair parts and parts diagrams for Exmark M15KA483 - Exmark 48" Metro Walk-Behind Mower, 15HP Kawasaki (SN: 670000 - 719999) (2007) Exmark repair parts and parts diagrams for Exmark M4815KA - Exmark 48" Metro Walk-Behind Mower, 15HP Kawasaki (SN: 510000 - 599999) (2005) Exmark repair parts and parts diagrams for Exmark M4815KA - Exmark 48" Metro Walk-Behind Mower, 15HP Kawasaki (SN: 370000 - 439999) (2003)
Exmark metro 48 parts diagram. Exmark repair parts and parts diagrams for Exmark M4815KAC - Exmark 48" Metro Walk-Behind Mower, 15HP Kawasaki (SN: 440000 - 509999) (2004) M4815KAC - Exmark 48" Metro Walk-Behind Mower, 15HP Kawasaki (SN: 370000 - 439999) (2003) > Parts Diagrams (10)Hide . 32" And 36" Mower Deck. 48" Mower Deck. Decals. ECS Upper Handles & Controls. Engine Deck Group (Part 1) Engine Deck Group (Part 2) Standard Pistol Grip Upper Handles & Controls. Wiring Diagram - 12.5 HP Kawasaki. M4815KA - Exmark 48" Metro Walk-Behind Mower, 15HP Kawasaki (SN: 370000 - 439999) (2003) > Parts Diagrams (10) > 48" Mower Deck. Engagement. Arm W/Bushings (48") Note: For units with Standard pistol grip handles only. Note: For units with ECS handles only. Note: For units with Standard pistol grip handles only. With Exmark Parts Plus, get parts shipped to you overnight. ... Deck widths from 48" to 60" As low as $5,899 / $109 mo USD. ... Belt Diagram Lookup. Hydro Life Extension.
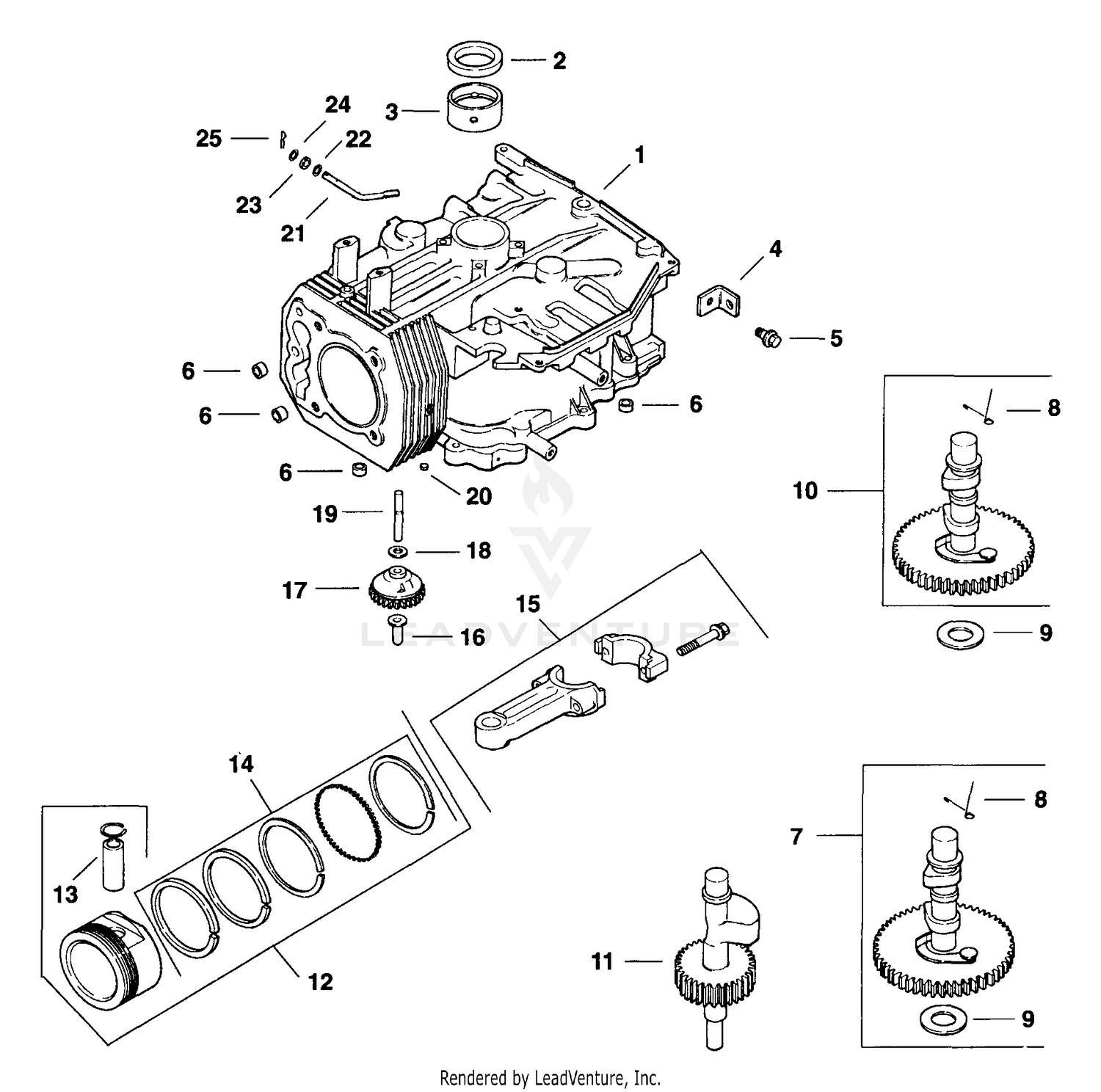
M4815KA - Exmark 48" Metro Walk-Behind Mower, 15HP Kawasaki (SN: 220000 - 259999) (2000) > Parts Diagrams (9) > Engine Deck Group. Note: (Use Teflon Pipe Sealant [or equivalent] on all pipe threads.) Note: (Use Teflon Pipe Sealant [or equivalent] on all pipe threads.) Note: (Use Teflon Pipe Sealant [or equivalent] on all pipe threads.) Exmark repair parts and parts diagrams for Exmark MHP4815KA - Exmark 48" Metro HP Walk-Behind Mower, 15HP Kawasaki (SN: 220000 - 259999) (2000) Exmark repair parts and parts diagrams for Exmark MG481KA483 - Exmark 48" Metro Walk-Behind Mower, Kawasaki FS481V (SN: 313000000 - 313999999) (2013) Exmark repair parts and parts diagrams for Exmark M48-14K-5 - Exmark 48" Metro Walk-Behind Mower, 14HP Kawasaki (SN: 090000 - 101999) (1994) Order Status Customer Support 512-288-4355 My Account Login to your PartsTree.com to view your saved list of equipment.
Exmark repair parts and parts diagrams for Exmark M4815KA - Exmark 48" Metro Walk-Behind Mower, 15HP Kawasaki (SN: 370000 - 439999) (2003) Exmark repair parts and parts diagrams for Exmark M4815KA - Exmark 48" Metro Walk-Behind Mower, 15HP Kawasaki (SN: 510000 - 599999) (2005) Exmark repair parts and parts diagrams for Exmark M15KA483 - Exmark 48" Metro Walk-Behind Mower, 15HP Kawasaki (SN: 670000 - 719999) (2007)
Wheel Drive Belt Pulley Scrapers Engine To Mower Deck Belt Maintenance Exmark Metro 4500 352 User Manual Page 28 40 Original Mode
Exmark M4814ka Exmark 48 Metro Walk Behind Mower 14hp Kawasaki Sn 150000 159999 1998 Engine Deck Group 2 Parts Lookup With Diagrams Partstree
Exmark M4815ka Exmark 48 Metro Walk Behind Mower 15hp Kawasaki Sn 510000 599999 2005 Parts Lookup With Diagrams Partstree
Blade Brake Adjustment Belt Guide Adjustment Maintenance Exmark Metro 4500 352 User Manual Page 29 40 Original Mode
Exmark 3257 17 Woodruff Key Commercial Ecx180cka210bc Ecxkabbc21 Metro Automotive Replacement Parts Usininz Ro
New Exmark Metro Gear Drive 48 In Kawasaki Fs481v 14 5 Hp Lawn Mowers Wellsboro Equipment Located In Mansfield Pa Stock Number
New Exmark Metro Gear Drive 48 In Kawasaki Fs481v 14 5 Hp Lawn Mowers Wellsboro Equipment Located In Mansfield Pa Stock Number
Exmark M4815kac Exmark 48 Metro Walk Behind Mower 15hp Kawasaki Sn 370000 439999 2003 Parts Lookup With Diagrams Partstree
Exmark Mhp4815kac Exmark 48 Metro Hp Walk Behind Mower 15hp Kawasaki Sn 370000 439999 2003 48 Mower Deck Parts Lookup With Diagrams Partstree
0 Response to "40 exmark metro 48 parts diagram"
Post a Comment