Iklan 300x250

40 john deere x475 parts diagram

54-inch 54C Mower Deck Parts for X475 - GreenPartStore John Deere 54C Mower Deck Housing - AM140695. (0) $1,395.23. Usually available. Add to Cart. Quick View. John Deere X475 Garden Tractor Parts - Mutton Power John Deere X475 Riding Mower Parts including mower blades, deck belt, oil and air filter along with Parts Look-up Diagrams/Schematics. ... John Deere X475 Parts. The John Deere X475 was produced from 2002 to 2005 and came standard with power steering and hydraulic deck lift with available X475AWS with 4 Wheel Steering. Other features include ...

Shop our selection of John-Deere X475 Parts and Manuals John Deere X475 Ignition & Electrical Parts | Lights & Related Parts | AM118013Bulb# GE894 Replaces:.. $9.54 Add to Cart. John Deere X475 Riding Mower Yoke End. John Deere X475 Sunbelt - Rider & Walk-behind Parts | Deck & Drive | B1SB9143Fits 5/16" pin. Thread .. $9.04 Add to Cart.

John deere x475 parts diagram

John deere x475 parts diagram

John Deere Models X465 X475 X485 X495 Parts John Deere X Series Tractor Front Fender Kit For X400 HDGT X700 2WD 2WS BM21536. (4) $162.64. Out of Stock. Quick View. X475 - TRACTOR, LAWN AND GARDEN X475 Lawn and ... - avs.parts X475 - TRACTOR, LAWN AND GARDEN X475 Lawn and Garden Tractor Diagram group X475 Lawn and Garden Tractor John Deere : 20 ENGINE CCE 30 FUEL AND AIR CCE 40 ELECTRICAL CCE 50 POWER TRAIN CCE 55 REAR POWER-TAKEOFF CCE 60 STEERING AND BRAKES CCE 70 HYDRAULICS CCE 80 WHEELS, FRAME, AND OPERATOR'S STATION CCE 85 MOWER DECK LIFT CCE John Deere Model X475 Lawn and Garden Tractor Parts John Deere Lawn and Garden Tractor Parts Model X475 Model X475 The 13-digit product identification number (serial number) (A) is located on the right-hand side frame, just below engine compartment Products [160] Sort by: 1 2 3 4 Next Page View All 3-Way HitchPlate and Towing Ball - GV175 (1) $23.95 Add to Cart Big Tool Rack Yardrack - BTR-YDRK (0)

John deere x475 parts diagram. X475 - TRACTOR, LAWN AND GARDEN X475 Lawn and ... - avs.parts Diagram group X475 Lawn and Garden Tractor John Deere : 20 ENGINE CCE. 30 FUEL AND AIR CCE. 40 ELECTRICAL CCE. 50 POWER TRAIN CCE. 55 REAR POWER-TAKEOFF CCE. 60 STEERING AND BRAKES CCE. 70 HYDRAULICS CCE. 80 WHEELS, FRAME, AND OPERATOR'S STATION CCE. John Deere X465, X475, X485, X575, X585 Garden Tractors ... Technical Manual John Deere X465, X475, X485, X575, X585 Garden Tractors.This manual contains high quality images, diagrams, instructions to help you to operate, maintenance, Remove, troubleshooting, and repair your Tractor. John Deere X485- X585 Garden Tractors Technical Manual Sample Preview. Language: English Format: PDF,576 pages File size ... John Deere X475 Garden Tractor Parts - Mutton Power John Deere X475 Riding Mower Parts including mower blades, deck belt, oil and air filter along with Parts Look-up Diagrams/Schematics. ... John Deere X475 Parts. The John Deere X475 was produced from 2002 to 2005 and came standard with power steering and hydraulic deck lift with available X475AWS with 4 Wheel Steering. Other features include ... John Deere Model X475 Seats and Hitches - ShopGreenDealer John Deere Parts Catalog; More Info. John Deere Online Parts Catalog; Used Mowers; AHW LLC - John Deere Dealer; TerraGrip Installation Video; ... Model X475; Seats & Hitches; Seats & Hitches. Products [7] Sort by: Quick View. John Deere Click N Go Brackets (0) $128.40. Add To Cart. Quick View. John Deere Rear Receiver Hitch Drawbar Kit ...

John Deere X485 Lawn Tractor Maintenance Guide & Parts List Outside of the schedule service intervals, you may need a part for a quick repair. While this is not an inclusive list of all the parts for a John Deere X485 Lawn Tractor & Parts List, these are the typical parts that we see purchased for your model. Part. Price. Fuel Filter AM118131. Not Sold Online. Kit - Gage Wheel AM125172. Not Sold Online. John Deere Models X465 X475 X485 X495 Parts John Deere X Series Tractor Front Fender Kit For X400 HDGT X700 2WD 2WS BM21536. (4) $162.64. Out of Stock. Quick View. JOHN DEERE X465 X475 TRACTOR Service Manual This John Deere X465 X475 X575 X585 Lawn and Garden Tractor manual is the similar manual utilized by proficient specialists, mechanics and workshops. Our manuals are incorporated in PDF organize and can be opened with each pdf-peruser. A portion of the manuals are zipped. To unfasten these manuals, you need f.e. free winzip or winrar. TractorData.com John Deere X475 tractor information 4WD. John Deere X475 Engine. 23HP Kawasaki 745cc 2-cyl gasoline. Fuel tank. 6.5 gal. 24.6 L. Engine details ... John Deere X475 Transmission. hydrostatic.

X595 - TRACTOR, LAWN AND GARDEN X595 Lawn and ... - avs.parts Diagram group X595 Lawn and Garden Tractor John Deere : 20 Engine 3TNE74CEJLT, 3TNE74JLTE CCE 21 Engine 3TNV76-XJLT, 3TNV76-XJLTE CCE 30 Fuel and Air CCE 40 Electrical CCE 50 Power Train CCE 55 Rear Power Take-Off CCE 60 Steering and Brakes CCE 70 Hydraulics CCE 80 Wheels, Frame, and Operator Station CCE 85 Mower Deck Lift CCE John Deere X475 Lawn Tractor Parts - Quick Parts Reference ... This quick parts reference guide will provide you with the most common John Deere X475 Lawn Tractor Parts 54C Mower Deck. These John Deere Lawn Tractor Parts may include: Tune Up Kit, Spark Plug, Mower Blades, Traction Drive Belt, Transmission Belt, Mower Drive Belt, Battery, and Air Filters. If you need help finding John Deere Lawn Tractor Parts Search Using Weingartz Illustrated Diagrams to view an illustrated diagram or call us at 1-855-669-7278. Visit our YouTube channel to view How To ... [PDF] John deere x485 electrical wiring manual - read ... Manuals for your equipment are available for purchase in the following formats: John Deere offers a range of technical and service publications about your. Wiring Diagram For A John Deere X595 Tractor Downloads Priority Downloads. john deere 4430 wiring diagram pdf eBook Download 8 months ago: 1.69 MB: hr@lvacademy 32: JOHN DEERE – Service Manual Download John Deere 655-755-756-855-856-955 Tractors Service Repair Shop Manual. John Deere 670-770-870-970-1070 Tractors Service Repair Shop Manual. John Deere 850, 950 & 1050 Tractors Service Repair Shop Manual. John Deere 1020, 1520, …

John Deere X485 lawn mower in Sedgwick, KS | Item JT9618 sold ...

John Deere X485 lawn mower in Sedgwick, KS | Item JT9618 sold ...

TractorData.com John Deere X475 tractor information John Deere X475 attachments 48" mid-mount mower deck 54" mid-mount mower deck 62" mid-mount mower deck snowblower blade front-end loader Attachment details ... X475 Serial Location Serial number decal on the middle-right of the main tractor frame. ©2000-2020 - TractorData™. Notice: Every attempt is made to ensure the data listed is accurate.

2022 John Deere X350 - Lawn & Garden Tractors - Lake City, FL

2022 John Deere X350 - Lawn & Garden Tractors - Lake City, FL

john deere x585 electrical drawing - Wiring Diagram Line John Deere Garden Tractors X465 X475 X485 X575 X585 Technical Manual Tm2023 Auto Repair Software Epc Work Service. John Deere X585 Lawn Garden Tractor Service Repair Manual By Kjsmfmmf Issuu. John Deere 115 Parts Diagram Www Spora Ws. X595 Electrical Problem My Tractor Forum. John Deere X465 X475 X485 X575 X585 Tm2023 Pdf.

John Deere 62X Complete Replacement Deck

John Deere 62X Complete Replacement Deck

John Deere Parts Diagram & Parts Search • John Deere Parts ... John Deere AG, Lawn & Garden and CWP Equipment Parts Search. John Deere parts lookup tool and diagram is an incredible online source. It is a complete catalog that shows you detailed parts diagrams of every part of your machine. This online parts catalog is robust and easy to use. Searching for your John Deere parts online has never been easier.

John Deere X475 Garden Tractor -PC9110 Front Hitch Kit ...

John Deere X475 Garden Tractor -PC9110 Front Hitch Kit ...

John Deere X475 Wiring Diagram Temperature Gauge John Deere X475 Wiring Diagram Temperature Gauge 15.01.2019 3 Comments But, temp sensor may have failed or the wire from it to the cluster has shorted to ground. The temp John Deere x 62" deck AWS Kawasaki. Find parts for your john deere wiring harness - electrical with our free parts lookup tool! Search easy-to-use diagrams and enjoy same-day.

John Deere – Page 10 – YouFixThis

John Deere – Page 10 – YouFixThis

TM2023 - John Deere X475, X485, X465, X575, X585 Lawn and ... Illustrated Factory Diagnostic and Repair Technical Service Manual for John Deere Lawn and Garden Tractors Models X475, X485, X465, X575, X585 This manual contains high quality images, circuit diagrams, instructions to help you to maintenance, troubleshooting, diagnostic, and repair your truck. This document is printable, without restrictions, contains searchable text.

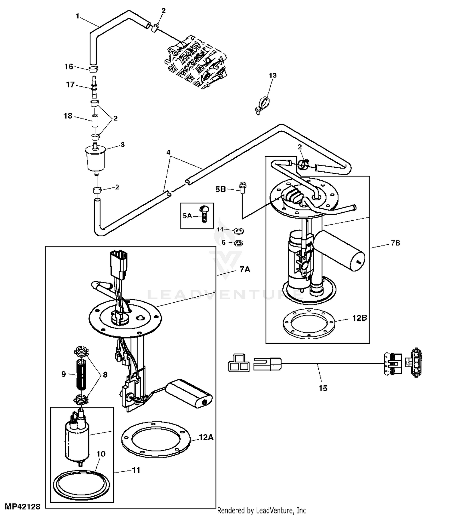
John Deere X475 Garden Tractor -PC9110 FUEL PUMP & FILTER ...

John Deere X475 Garden Tractor -PC9110 FUEL PUMP & FILTER ...

John Deere X475 Lawn Tractor Parts - Quick Parts … Aug 02, 2015 · This quick parts reference guide will provide you with the most common John Deere X475 Lawn Tractor Parts 62C Mower Deck. These John Deere Lawn Tractor Parts may include: Tune Up Kit, Spark Plug, Mower Blades, Traction Drive Belt, Transmission Belt, Mower Drive Belt, Battery, and Air Filters. If you need help finding John Deere Lawn Tractor Parts …

John Deere AM132643 Taillight

John Deere AM132643 Taillight

JOHN DEERE - Service Manual Download John Deere 655-755-756-855-856-955 Tractors Service Repair Shop Manual. John Deere 670-770-870-970-1070 Tractors Service Repair Shop Manual. John Deere 850, 950 & 1050 Tractors Service Repair Shop Manual. John Deere 1020, 1520, 1530, 2020, 2030 Tractors Repair Repair Shop Manual.

buy Water Pump AM134586 for John Deere 777 797 X475 X485 X575 ...

buy Water Pump AM134586 for John Deere 777 797 X475 X485 X575 ...

John Deere Model X475 Lawn and Garden Tractor Parts John Deere 20 AMP Auxiliary Alternator Kit - BM24425. (1) $429.95. Usually available from obsolete parts supplier - please allow 2 extra days for processing. Add to Cart. Quick View.

Mini-Mac Applicator Instr Manual Datasheet by Molex | Digi ...

Mini-Mac Applicator Instr Manual Datasheet by Molex | Digi ...

John Deere X485 Garden Tractor Parts - Mutton Power John Deere X485 Parts. The John Deere X485 was produced from 2002 to 2005 and came standard with power steering and hydraulic deck lift with available X485AWS with 4 Wheel Steering or X485SE with premium seat and Fender guards. Other features include Hydraulic Control Valves, hydrostatic drive transmission with differential lock and 25hp liquid ...

ENGINE OIL FILTER 84518337 - New.Holland | AVSpare.com

ENGINE OIL FILTER 84518337 - New.Holland | AVSpare.com

54-inch 54C Mower Deck Parts for X475 - GreenPartStore John Deere 54C Mower Deck Housing - AM140695. (0) $1,395.23. Usually available. Add to Cart. Quick View.

John Deere X485 Lawn Tractor Maintenance Guide & Parts List

John Deere X485 Lawn Tractor Maintenance Guide & Parts List

John Deere X465 X475 X485 X575 X585 TM2023 PDF X475, X485, X575, X585. Technical manual provides detailed descriptions of repar and service procedures, maintenance and repair instructions, troubleshoot information. This manual comes in PDF format. For work with manual you need to install the application Adobe PDF Reader.

X754 Owner Information | Parts & Service | John Deere CA

X754 Owner Information | Parts & Service | John Deere CA

John Deere Parts | Parts & Services | John Deere US Deere registered users can review their past orders to view details and/or buy again. The Right Part. The Right Price. At John Deere, you get the value of choice for your replacement and maintenance parts for all makes and ages of machines — at any budget. Search parts for your tractors, lawn mowers, ag equipment, and more.

Kohler TH18-54512 BASIC 18 HP (13.4 kW) SPECS 54501-54526 ...

Kohler TH18-54512 BASIC 18 HP (13.4 kW) SPECS 54501-54526 ...

John Deere Parts Diagram & Parts Search • John Deere Parts ... John Deere parts lookup tool and diagram is an incredible online source. It is a complete catalog that shows you detailed parts diagrams of every part of your machine. This online parts catalog is robust and easy to use. Searching for your John Deere parts online has never been easier.

John Deere Parts Lookup -X475 Garden Tractor -PC9110

John Deere Parts Lookup -X475 Garden Tractor -PC9110

Lawn Mower Parts | John Deere US The first of its kind. And thanks to the new John Deere Easy Change™ 30-Second Oil Change System ("System"), you'll never have to drain the oil from 100 Series Riding Lawn Tractors* again. Here's why: The new System captures contaminants and recharges your engine with nearly a quart (0.8qt) (0.76 l) of new oil.

John Deere X475 Garden Tractor -PC9110 SELECTIVE CONTROL ...

John Deere X475 Garden Tractor -PC9110 SELECTIVE CONTROL ...

X475 Problems - Green Tractor Talk ChrisR said: Friday I purchased a JD X475 with a 62C deck. It needed a few parts that I was able to get at my dealer this morning. I spent the rest of the day servicing, repairing, cleaning & adjusting. I have a couple of issues that I do not know how to check out. The digital hour meter & fuel gauge do not work.

X595 - TRACTOR, LAWN AND GARDEN Hood And Grille EPC John ...

X595 - TRACTOR, LAWN AND GARDEN Hood And Grille EPC John ...

John Deere X475 Lawn Tractor Parts - Quick Parts … This quick parts reference guide will provide you with the most common John Deere X475 Lawn Tractor Parts 54C Mower Deck. These John Deere Lawn Tractor Parts may include: Tune Up Kit, Spark Plug, Mower Blades, Traction Drive Belt, Transmission Belt, Mower Drive Belt, Battery, and Air Filters. If you need help finding John Deere Lawn Tractor Parts Search Using …

John Deere X475 Garden Tractor -PC9110 Wiring Harness 040001 ...

John Deere X475 Garden Tractor -PC9110 Wiring Harness 040001 ...

John Deere X475 Lawn Tractor Parts - Quick Parts Reference ... Aug 02, 2015 · This quick parts reference guide will provide you with the most common John Deere X475 Lawn Tractor Parts 62C Mower Deck. These John Deere Lawn Tractor Parts may include: Tune Up Kit, Spark Plug, Mower Blades, Traction Drive Belt, Transmission Belt, Mower Drive Belt, Battery, and Air Filters. If you need help finding John Deere Lawn Tractor Parts Search Using Weingartz Illustrated Diagrams to view an illustrated diagram or call us at 1-855-669-7278. Visit our YouTube channel to view How To ...

John Deere X475 Garden Tractor -PC9110 Wiring Harness 030001 ...

John Deere X475 Garden Tractor -PC9110 Wiring Harness 030001 ...

John Deere Model X475 Lawn and Garden Tractor Parts John Deere Lawn and Garden Tractor Parts Model X475 Model X475 The 13-digit product identification number (serial number) (A) is located on the right-hand side frame, just below engine compartment Products [160] Sort by: 1 2 3 4 Next Page View All 3-Way HitchPlate and Towing Ball - GV175 (1) $23.95 Add to Cart Big Tool Rack Yardrack - BTR-YDRK (0)

John Deere X475 and X575 Repower Kit | Repower Pros

John Deere X475 and X575 Repower Kit | Repower Pros

X475 - TRACTOR, LAWN AND GARDEN X475 Lawn and ... - avs.parts X475 - TRACTOR, LAWN AND GARDEN X475 Lawn and Garden Tractor Diagram group X475 Lawn and Garden Tractor John Deere : 20 ENGINE CCE 30 FUEL AND AIR CCE 40 ELECTRICAL CCE 50 POWER TRAIN CCE 55 REAR POWER-TAKEOFF CCE 60 STEERING AND BRAKES CCE 70 HYDRAULICS CCE 80 WHEELS, FRAME, AND OPERATOR'S STATION CCE 85 MOWER DECK LIFT CCE

My Deere X475 lawn and garden tractor (carbureted) will start ...

My Deere X475 lawn and garden tractor (carbureted) will start ...

John Deere Models X465 X475 X485 X495 Parts John Deere X Series Tractor Front Fender Kit For X400 HDGT X700 2WD 2WS BM21536. (4) $162.64. Out of Stock. Quick View.

Pin on JOHN DEERE SERVICE REPAIR

Pin on JOHN DEERE SERVICE REPAIR

John Deere X465 X475 X485 X575 X585 Lawn & Garden Tractor TM2023 Technical  Manual PDF

John Deere X465 X475 X485 X575 X585 Lawn & Garden Tractor TM2023 Technical Manual PDF

X475 carburetor parts kit | My Tractor Forum

X475 carburetor parts kit | My Tractor Forum

John Deere X465/475/485/575/585 Garden Tractors TM2023 PDF

John Deere X465/475/485/575/585 Garden Tractors TM2023 PDF

John Deere X475, X485, X465, X575, X585 Lawn and Garden ...

John Deere X475, X485, X465, X575, X585 Lawn and Garden ...

John Deere X465 X475 X485 X575 X585 Repair Manual [Garden ...

John Deere X465 X475 X485 X575 X585 Repair Manual [Garden ...

Deere X585 Garden Tractor fuel pump failure. It appears that ...

Deere X585 Garden Tractor fuel pump failure. It appears that ...

INSTRUCTION MANUAL

INSTRUCTION MANUAL

John Deere 54 Mowing Deck w PTO Shaft Front Rod X475 X485 ...

John Deere 54 Mowing Deck w PTO Shaft Front Rod X475 X485 ...

JOHN DEERE X465 X475 TRACTOR Service Manual

JOHN DEERE X465 X475 TRACTOR Service Manual

John Deere X475 Garden Tractor -PC9110 REAR AXLE SHAFT ...

John Deere X475 Garden Tractor -PC9110 REAR AXLE SHAFT ...

JD x475 mower deck won't engage, instrument cluster dead ...

JD x475 mower deck won't engage, instrument cluster dead ...

John Deere L&G Belt Routing Guide | My Lawnmower Forum

John Deere L&G Belt Routing Guide | My Lawnmower Forum

John Deere 54

John Deere 54" Snow Plow Frame Diagram

John Deere – Page 10 – YouFixThis

John Deere – Page 10 – YouFixThis

BOBCAT

BOBCAT

John Deere X475 Garden Tractor -PC9110 PTO SOLENOID: POWER ...

John Deere X475 Garden Tractor -PC9110 PTO SOLENOID: POWER ...

John Deere X475 Garden Tractor -PC9110 FRONT AXLE 2WS ...

John Deere X475 Garden Tractor -PC9110 FRONT AXLE 2WS ...

Bercomac 700416 Owner's manual | Manualzz

Bercomac 700416 Owner's manual | Manualzz

John Deere X465, X475, X485, X575 and X585 Technical Manual TM2023 CD or  USB | eBay

John Deere X465, X475, X485, X575 and X585 Technical Manual TM2023 CD or USB | eBay

0 Response to "40 john deere x475 parts diagram"

Post a Comment

Iklan Atas Artikel

Iklan Tengah Artikel 1

Iklan Tengah Artikel 2

Iklan Bawah Artikel